Compare Plans

2021-08-17

计算机接入网络原理

2.1.3  Internet拨号接入
 
 
        众所周知,拨号接入是PC机与Internet连接的一种常用方法,其示意图如图2.10所示。它的物理层就是modem和PSTN网络,最常用的数据链路层协议就是点到点协议(PPP-Point-to-Point Protocol),它是在串行线IP(SLlP)协议基础上改进而成的,另一种能力更强的协议称为多链路PPP(MLPPP 或MP)协议,它可以控制多条链路接入, 以增加用户的接入带宽。
       internet 拨号接入
图2.10 Internet拨号接入示意图

        PPP 协议有3 项主要功能:
  • 帧封装:按HDLC 的一般帧结构封装数据,并提供差错检测功能。
  • 链路控制协议(LCP ):负责控制接线、拆线、测试线路质量和协商PPP 协议参数(如最大长度、帧字段压缩等)。
  • 网络检测协议(NCP ):和对端协商网络层必要的功能,对应不同的网络层要采用不同的NCP。
     其基本过程为:
 ① PC 机经modem 拨号呼叫Internet服务提供商(ISP)。
 ② ISP 的modem应答,建立PC至ISP 的电路连接。
 ③  PC 由PPP帧发送LCP分组,确定所用的PPP 参数。
 ④ PC 和ISP交换NCP分组,配置网络层参数。对于TCP/IP 协议来说,主要是为PC分配一个IP地址。每个ISP 拥有n个IP地址, 动态分配给每一个新接入的PC 用户。
 ⑤至此,PC机成为一个 lnternet 主机,可自由 发送和接收iP 分组。
 ⑥ 通信结束,NCP拆除网络层连接,释放分配的IP地址;LCP关闭数据链路层连接;最后,PC机告诉 modem电话挂机,释放电话线路连接。
        PPP 是一个典型的用千Internet 单机上网的点到点数据链路层协议。


2.1.4  局域网和MAC 子层
       局域网通信协 议如图 2. 11 所示。其数据链路层由两个子层组成:媒体访问控制 ( MAC-Media Access Control) 子层和逻辑链路控制(LLC-Logic link Control) 子层。
       其中,MAC子层要解决的主要问题是如何分配共享媒体,主要有争用和时间片轮转两种方法,前者用于以太网,后者用于令牌网。LLC子层是端到端协议,类似于运输层协议的地位,可以提供面向连接和无连接两类服务。
局域网通信协议
图2.11 局域网通信协议
       MAC子层只负责将数据帧送到接收站点,并检测收到的帧是否出错,如有错则予丢弃。如果要求可靠传送,则LLC的面向连接服务能够提供差错校正和流量控制功能。差错校正采用请求重发或超时重发实现,它们都属干常用的自动重发请求(ARQ-AutomaticRepeatRequest)技术;流量控制则可以避免接收站点缓冲器溢出。
       LLC还有一个功能是可以支待多重连接,如前所述,这一功能是通过SAP概念实现的。如图2.12所示,站点A的LLC子层有3个SAP,记为LSAP,每个SAP有其自己的LSAP地址,对应于站点A中的一个应用进程。这样进程X、Y、Z分别对应为复合地址(A,1)、(A,2)和(A,3),其中,A为站点地址,1/2/3为LSAP地址。类似地,站点B和C分别有2个和1个LSAP。如果A中的X进程要向B中的进程Q发数据,则数据帧的源地址为(A,l),宿地址为(B,2)。
       由此可知,局域网数据链路层需有两层地址:
       •MAC地址:标识站点。
       •LLC地址:即LSAP号,标识站点中的一个用户,可以是一个软件进程,也可以是一个硬件端口。
LLC多重连接
图2.12    LLC的多重连接概念
       数据链路层PDU也按照分层封装方式构成,即LLC PDU封装在MAC帧中。图2.13为MAC帧格式。其中,MAC地址有48比特和16比特两种,后者为局部地址,由网络管理员分配,仅适用于本地网络;前者为全局地址,由IEEE分配,全球任意两个局域网站点的全局地址都不会相同。另外还定义有广播地址和多播地址。MAC控制字段为优先级等协议控制信息,CRC为校验码。
 
协议单元格式
       LLC  PDU的格式如图2.14所示。其中,DSAP和SSAP分别为目的地和源站点的区P号;控制字段则指明PDU的类型、序号等,和ISDNQ.921协议帧的控制字段相同,因为两者都是基于HDLC的。

2.1.5 网桥和路由器
       网桥和路由器都是网络互连设备。网桥是数据链路层的互连设备,路由器则是网络层的互连设备。
1.网桥
       网桥用于多个局域网的互连。由于可靠性、安全性和地理位置等原因,一个单位往往需要设置多个局域网,但这些局域网又需要互相通信,最简单的方法就是使用网桥。图2.15为最简单的两个相同类型局域网经网桥相连的情况。在此例中,网桥对所接收的帧无论是内容还是格式都不作任何修改,也不附加封装,只是简单地从一个网上复制到另一个网上广播发送。网桥唯一需要知道的是地址为l~ l0 的站点位于LAN A,地址为11~20的站点位于LAN B。
网桥基本功能
图2.15  网桥基本功能示例
        网桥也可以连接两个不同类型的局域网。此时,网桥从一个LAN上收下的MAC帧要经过格式转换才能送至另一个LAN,转换的仅是MAC帧头和帧尾。
        当两个LAN相距很远时,它们之间的网桥互连可能要经过传输网络或点到点传输链路实现,如图2.16  所示。此时,一个网桥一分
 
远程LAN的网桥互联
图2.16 远程LAN的网桥互连
为二,分别位于两个LAN中,称为半桥。每个半桥从一个LAN中收到发往另一个LAN的数据帧后,就要将MAC帧封装到传输网络规定的帧或分组结构中去,然后交给该网络透明传送给对端半桥。对端半桥拆除传输网络帧或分组的封装头部后,取出MAC帧送入LAN。假设中间传输网络是X.25网,则上述过程的互通协议结构和消息逐层封装和拆封操作如图2.17所示。其简要过程为:
网桥互联协议过程
图2.17  经由X.25网络的网桥互连协议过程
其简要过程为:
①源半桥收到发往对端的MAC帧后,添加一个X.25分组层的头部P-H,头部中含对端半桥的X.25地址。
②源半桥在此外面再加上X.25链路层头部和尾部Link-H和Link-T,将其发往DCE(分组交换节点)。
③X.25网将其传至与对端半网相连的DCE。
④对端DCE去除X.25-H后,将其传给对端半桥。
⑤对端半桥去除Link-H和Link-T后,将原始的MAC帧广播送入其所属的LAN。
      在有多个LAN的情况下,一个LAN可能接有多个网桥。由于LAN的广播特性,所有网上数据帧都能被网桥收到,网桥必须判断哪些目的地的帧应予转发处理。另外,有可能发往某-LAN的数据帧可经两个以上的网桥转发,则应由其中路线最短的网桥来处理。以 图2.18所示网络为例,设源点为站点1,其发往站点2、3的数据帧任何网桥都不应处理;发往站点4的帧应由网桥101转发;发往站点6、7的帧应由网桥102来转发;发往站点5的帧虽然网桥101和107都能转发,但网桥107转发的路径短,故应由107来处理。由此可见,网桥也有路由问题,IEEE己制订了标准算法。
多网桥网络示例
图2.18多网桥网络示例
        无论是哪一种网桥,它们对LLC及以上层的协议数据单元都不予处理,如果是同类LAN互联,MAC帧亦无需处理。源点发送数据丝毫不受影响,它根本不知道中间存在网桥。
2.路由器
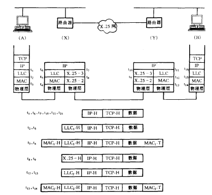
       如前所述,路由器是互联网中的网关部件,它可以互连不同类型的通信子网,因此自然也可以用来互连LAN,一般用千远程LAN经由WAN的互连。图2.19为LAN经路由器互连的示例。从物理网络连接来看,它和图2.17经网桥互连的情况相同,但机理完全不同。
       在路由器互连的情况下,两个LAN被视作位于两个不同的IP网络中。为此互通的站点必须装备TCP/IP协议栈。源站点发出的MAC帧封装的内核应是IP数据报,其目的IP地址应填入目的站点的IP地址,而目的MAC地址应填入源端路由器的MAC地址,而且路由器应知道它所管辖的LAN中各站点MAC地址和IP地址的对应关系。
        其简要过程为:
①心源站点形成IP数据报,填入目的站点IP地址。
②源站点将IP报封入LLC PDU,再封入MAC帧,目的MAC地址=路由器X的MAC地址。广播发送。
③路由器X收到此MAC帧后,去除MAC帧头、帧尾以及lLC头部,检查目的IP地址,确定下一跳路由器为Y。
④路由器X将IP报封入X.25帧。
⑤X.25网将其送至路由器Y。
⑥路由器Y根据目的IP地址确定其MAC地址,由此形成新的MAC帧送入其所在的LAN。
       此时,源站点至目的站点的端对端服务由TCP(或UDP)提供,在源段和目的段LAN中的U.C层提供的是从站点到路由器之间的端到端服务。
经由x.25网络的路由器互连协议过程
图2.19   经由X.25 网络的路由器互连协议过程
 
         至此,我们对计算机网络如何进行通信有了一个基本的了解。现以图2.20为例,对典型的几种互联通信情况作一小结性的说明。
         图中示出4种典型情况:
      •LAN-LAN:802.31..AN站点和802.4LAN站点通信,经网桥实现。
      •LAN-WAN:802.4LAN站点经X.25网络和远端主机通信,经路由器实现。
      •WAN-WAN:接在X.25网上的主机和接在SNA网(IBM网络)上的主机通信,经路由器实现。
 
计算机网络互联
图2.20  计算机网络互联典型示例
 
     •LAN-WAN-LAN:两个远程局域网802.5IAN和802.4IAN的站点通信,经两个路由器实现。
      由此可见,基于TCP/IP的Internet在计算机通信网中的重要地位。下面对此内容作进一步的讨论。
 

联系我们

028-83110277

IP电话机视频电话机供应商

手机:

成都世讯电科信息技术有限公司

成都世讯电科信息技术有限公司是一家多媒体融合通信解决方案及运营服务提供商,公司专注于为广大用户提供简单高效的通信产品和真正符合行业用户需求的行业应用解决方案,让用户享受到个性化、私密性强又具开放性、兼容性强又易于管理的高科技服务,帮助用户实现办公及运营通信的现代化与网络信息化。

公司拥专注于IP多媒体解决方案的应用与实施,有IP多媒体通信系统(IPBX)、IP多媒体通信平台定制与搭建(运营、对讲广播、门禁、调度、音视频会议及与视频监控交互式应用等)、IP电话机、视频电话机、项目租赁、云通信及系统集成等服务。

电话:028-83110277

Q Q:86313858